Stabilizatory temperatury c.w.u.
Stabilizatory temperatury ciepłej wody użytkowej to urządzenia przeznaczone do węzłów cieplnych z przepływowymi wymiennikami c.w.u. Zastosowanie ich w instalacji zapobiega powstawaniu przeciążeń i naprężeń termicznych.
Zbiorniki przyjmują nadmiar wody w instalacji i utrzymują jej stałą temperaturę. Zalecane są zwłaszcza do tych instalacji, które są pozbawione zasobników.
Zalety zasobników Termica
Do głównych zalet zasobników marki Termica można zaliczyć:
- wykonanie urządzeń z atestowanej stali nierdzewnej renomowanych europejskich producentów,
- trawione i pasywowane spawy zasobników - każdy zbiornik przechodzi próbę ciśnieniową,
- są to urządzenia izolowane, w estetycznej obudowie,
- zasobniki nie wymagają stosowania anody ochronnej,
- mają przejrzyste warunki gwarancji,
- w cenie zasobnika dostajemy również zawór bezpieczeństwa.
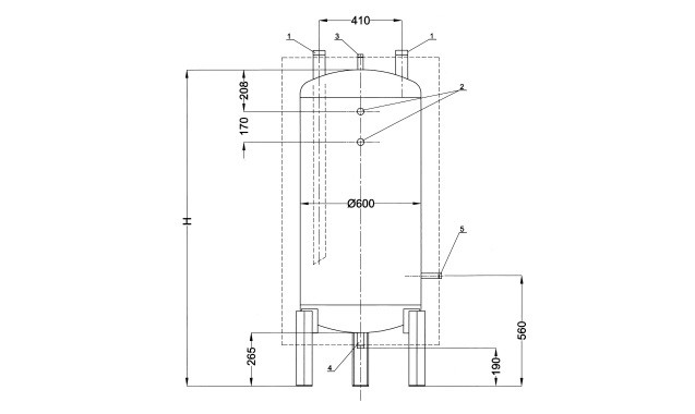
Pojemność zbiorników zasobników marki Termica wynosi od 200 l do 600 l. To urządzenia stojące, wykonane ze stali nierdzewnej. Firma Termica może je wykonać według indywidualnej specyfikacji klienta, z innym układem króćców.

Stabilizatory ciepłej wody Termica zawierają opcjonalną izolację i króciec do montażu grzałki elektrycznej. Urządzenia te mają atest Państwowego Zakładu Higieny.
Źródło i zdjęcia: Termica